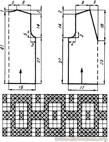
Для жилета для ребенка 5-6 лет (30-го размера) нужно 200 г пряжи розового цвета и по 20-25 г черного, красного и еленого, спицы № 3.
Спинку и перед вяжите чулочной вязкой, орнамент из рех полос выполняйте по хеме, чередуя цвета нити. Готовые детали отпарьте.
Оформление пройм и горловины жилета выполняйте в такой последовательности: сначала сшейте жилет по одному плечу, наберите с изнанки новый ряд петель по раю проймы и яжите бейку чулочной вязкой шириной 2,5-3 см серой нитью; закончите бейку 2-3 рядами хлопчатобумажной нити и, не закрывая последнего ряда петель, снимите вязанье со спиц. Затем оформите бейкой вырез горловины, для чего наберите новый ряд петель по краю выреза с изнаночной стороны и вяжите чулочной вязкой бейку шириной 5-6 см. Заканчивайте бейку зеленой, черной и красной полосами — каждая по 2 ряда.
При вывязывании бейки в центре V-образного выреза сначала убавляйте в каждом лицевом ряду по 2 петли, а довязав бейку до середины, начинайте прибавлять по 2 петли в каждом лицевом ряду. Закончите вывязывание бейки также 2-3 рядами хлопчатобумажной нити и снимите со спиц, не закрывая петель последнего ряда.
Далее сшейте жилет по второму плечевому шву и свяжите бейку для другой проймы жилета. Отпарьте готовые бейки, сшейте жилет по боковым краям, отплетите от беек хлопчатобумажную нить и пришейте с лицевой стороны открытые петли беек кеттельным швом.